Ербас се сериозни во својата намера да ги превезуваат своите патници од Лондон до Њујорк за само еден час. Производителот на авиони го пријавил својот втор патент за суперсоничен авион кој би можел да ги превезува патниците помеѓу двата града побрзо отколку што би ви требало со автомобил да поминете од едниот крај на Лондон до другиот. Патентот скицира дизајн со огромен ракетен мотор кој би овозможил летање со брзина поголема од 5500 километри на час – четири пати побрзо од брзината на звукот.
Бизнис Инсајдер истакнува дека ова е голем напредок во споредба со 3.5 часовниот лет на Мач 2 Конкорд за истата дестинација. Авионот се опишува како „како вселенско летало кое се крева од земјата на вообичаен начин, достигнува височина од најмалку сто километри, лета со брзина поболема од брзината на звукот и потоа слетува на вообичаен начин.“
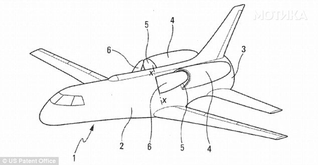
Патентните скици покажуваат два мотори на млазен погон на двете страни на телото на авионот, со помош на кои авионот ќе ја достигне првичната потребна височина. Штом ќе стигне таму, се покренува огромниот мотор на задниот дел од авионот, кој вертикално ќе го крене авионот, достигнувајќи ја конечната планирана височина.
Но, не сите ќе можат да се возат со овој авион. Бројот на патниците ќе биде ограничен на дваесет, и како целна група пред сѐ се земаат ВИП патници на кои што им е потребен трансконтинентален пат за еден ден. Ербас претпоставува дека авионот би можел да лета од Токио до Лос Анџелес за само три часа.









